
距离高考还有十几天
一部分高三学生已经拿到
2023年保送的好消息了
据统计
2023年
全国总共有1917人次高三学生获得保送资格
包括五大学科竞赛类保送生265人次
外语类保送生1652人次
其中
四川共有94名高三生获保送资格
包括77名成都外国语学校推荐保送生
17名奥赛国家集训队队员
5月22日,教育部阳光高考信息公开平台公示了今年的高考保送生资格名单,名单分为两类,一类是国际五项学科奥林匹克竞赛国家集训队员,另一类是外国语学校推荐保送生。
图据阳光高考平台
全国五项学科竞赛类保送生265人次,四川占17人
按照以往的招生政策,进入五项学科竞赛国家集训队,也就意味着拿到了大学保送资格。换言之,五项学科竞赛公示名单上的这些同学基本等于跨进北大、清华的大门了。
国际五项学科奥林匹克竞赛国家集训队员保送资格名单(四川)
记者梳理发现,这些高三同学分别来自成都和绵阳的五所高中:成都第七中学、成都外国语学校、绵阳东辰学校、锦江区嘉祥外国语高级中学、绵阳中学。
其中,成都第七中学拿到了7个保送资格,生物单个学科奥赛占到4席。成都外国语学校有4名学生保送,四川省绵阳东辰学校、成都市锦江区嘉祥外国语高级中学、四川省绵阳中学分别拿到了2个保送资格。从五项学科国集人数分布看,化学、生物学是四川选手的优势学科,9名四川学生据此入围国家集训队获得保送资格。
很多家长看到这份名单的时候,可能会很疑惑:之前不是公布了26名学生拿到了保送资格吗,为啥现在只有17名学生了,是不是数据有误?
实际上,这次公布的是获得保送资格的高三学生,也就是说有9名学生目前还不是高三学生,所以并未出现在此次名单内。
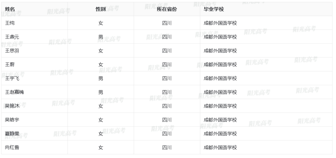
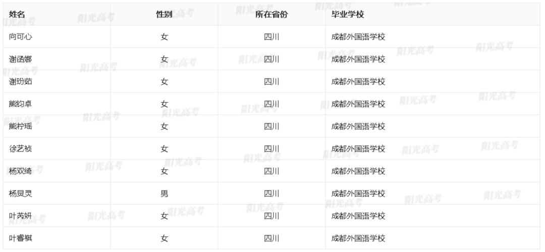
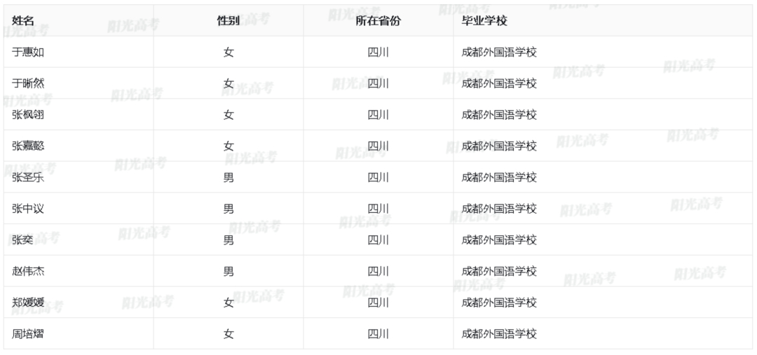
全国外国语学校推荐保送生1652人次,四川占77人
目前,全国具有推荐保送生资格的外国语中学共16所,分别为:
天津外国语学校、石家庄外国语学校、太原外国语学校、长春外国语学校、上海外国语大学附中(含浦东、浦西校区)、南京外国语学校、杭州外国语学校、厦门外国语学校、南昌外国语学校、济南外国语学校、郑州外国语学校、武汉外国语学校、广外附设外语学校、深圳外国语学校、重庆外国语学校、成都外国语学校。
2023年,全国外国语学校共推荐保送生1652人次,成都外国语学校作为四川唯一一所具有推荐保送生资格的学校,此次共推荐保送77人。(部分名单截图)
如何才能获得推荐保送资格?
据成都外国语学校官方公示的《高2020级外语类保送生推选方案》(以下简称:《推选方案》),想要获得外语类保送生推选,需要同时满足以下的4个基本条件才能具备申请推送保送的资格。
1、德、智、体、美、劳全面发展,中学生综合素质记录真实有效且无不良记录。
2、具有成都外国语学校三年正式高中学籍且高中三年均在成都外国语学校就读(学籍网上高中阶段无转学记录)并在成外高考报名的应届毕业生。
3、文化类课程(语文、数学、外语、物理、化学、生物、政治、历史、地理)高中学业水平考试成绩为良好及以上。技术类课程(信息技术、通用技术)高中学业水平考试成绩为合格及以上。
4、在高中阶段未受学校处分。在满足基本条件后,则是保送生资格考试。根据《推选方案》,考查语文(150分)、数学(150分)、外语(含小语种,笔试200分)等科目,其中,考试不分文理科,数学测试兼顾文理科均学过的内容。